Lifetime Connectivity

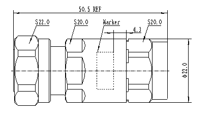
43M-LCF12-C03
4.3-10 Male Connector for 1/2" Coaxial Cable, OMNI FIT™ standard, O-ring sealing

Rev : C | Rev date : 11 Dec 2025

OMNI FIT™ high performance connectors are designed for use with both CELLFLEX® (copper) and CELLFLEX® Lite (aluminum) cables. They are designed specifically to provide the highest quality connector-cable interface while simplifying and speeding up connector attachment. The 4.3-10 connector is an innovative, space-saving RF connection meeting all requirements even under the most severe environmental conditions and not relying on coupling nut torque to meet PIM performance.

Feature / Benefits

  • Cost effective two-piece design for safe and easy installation
  • Compatible with copper and aluminium cable types i.e. one connector for both outer conductor materials eliminates the risk of faulty connector installation and helps to keep inventory down
  • Robust mechanical design for low and consistent intermodulation performance i.e. keeps the mobile network performance up reduces the number of dropped calls and avoids revenue losses
  • Superior electrical performance for consistent and repeatable VSWR i.e. ensure network system performance
  • Waterproof to IP 68 i.e. no downtime risk, secures revenue
  • RoHS (EU) and CRoHS (China) compliant i.e. can be used on a global basis
rfs 43m-lcf 12-c03.png
General Specifications
Cable Size 1/2
Cable Type Foam Dielectric, Radiating
Model Series LCF12-50 Series ICA12-50 Series RCF12-50 Series
Connector Interface 4.3-10
Connector Type

OMNI FIT™ Standard

Sealing Method

O-ring

Testing and Environmental
Waterproof Level IP68
Mechanical Specifications
Plating Outer/Inner Trimetal/Silver
Length 51mm (2in)
Outer Diameter 25mm (1in)
Inner Contact Attachment Spring Finger
Outer Contact Attachment Spring C-Ring
Electrical Specifications
Nominal Impedance 50 ohms
3rd Order IM Product @ 2x20 Watts
-162 ; typical -166
Maximum Frequency 6 GHz
Frequency Range VSWR value Return Loss value
0 < f ≤ 1.0 GHz 1.03 36.6
1.0 < f ≤ 2.7 GHz 1.04 34.1
2.7 < f ≤ 3.7 GHz 1.08 28.3
3.7 < f ≤ 5.0 GHz 1.1 26.4
5.0 < f ≤ 6.0 GHz 1.25 19.1
Accessories
Trimming Tool TRIM-SET-L12-C02

External Document Links

Notes

Related Products


MBHS12S-2-F

Hanger Type
Single Multi-block
Cable Type
Coaxial Foam Dielectric
Cable Size
1/2
Request quote

MBHS12S-1-F

Hanger Type
Single Multi-block
Cable Type
Coaxial Foam Dielectric
Cable Size
1/2
Request quote

LCF12-50JL

Applications
OEM jumpers, Main feed transitions to equipment, GPS lines, intended for outdoor usage
Jacket Option
Black
Fire Performance
Halogene Free
Request quote

MBHS12-1-F

Hanger Type
Single Multi-block
Cable Type
Coaxial Foam Dielectric
Hybrid
Cable Size
1/2
Request quote

MBHS12-2-F

Hanger Type
Single Multi-block
Cable Type
Coaxial Foam Dielectric
Hybrid
Cable Size
1/2
Request quote

MBHS12-3-F

Hanger Type
Single Multi-block
Cable Type
Coaxial Foam Dielectric
Hybrid
Cable Size
1/2
Request quote

CLAMP-12

Hanger Type
Bolt-On, non-insulated
Cable Type
Air Dielectric
Coaxial Foam Dielectric
Hybrid
Elliptical Waveguide
Cable Size
1/2"
Request quote

LCF12-50CPR

Applications
OEM jumpers, Main feed transitions to equipment, GPS lines, Riser-rated In-Building, CPR classified cable
Fire Performance
Flame Retardant, LS0H
Request quote

RSB-12

Hanger Type
RSB-Clip
Cable Type
Coaxial Foam Dielectric
Radiating Cable
Hybrid
Cable Size
1/2
Request quote

GKSPEED20-12S

Type of Grounding Kit
High Speed
Package Quantity
1
Weight per piece
0.3kg
0.66lb
Request quote

GKSPEED20-12P

Type of Grounding Kit
High Speed
Package Quantity
1
Weight per piece
0.3kg
0.66lb
Request quote

MBHS12-2-F

Hanger Type
Single Multi-block
Cable Type
Coaxial Foam Dielectric
Hybrid
Cable Size
1/2
Request quote

MBHS12-1-F

Hanger Type
Single Multi-block
Cable Type
Coaxial Foam Dielectric
Hybrid
Cable Size
1/2
Request quote

MBHS12-3-F

Hanger Type
Single Multi-block
Cable Type
Coaxial Foam Dielectric
Hybrid
Cable Size
1/2
Request quote

MBHS12S-2-F

Hanger Type
Single Multi-block
Cable Type
Coaxial Foam Dielectric
Cable Size
1/2
Request quote

MBHS12S-1-F

Hanger Type
Single Multi-block
Cable Type
Coaxial Foam Dielectric
Cable Size
1/2
Request quote

CLAMP-12

Hanger Type
Bolt-On, non-insulated
Cable Type
Air Dielectric
Coaxial Foam Dielectric
Hybrid
Elliptical Waveguide
Cable Size
1/2"
Request quote

LCF12-50JL

Applications
OEM jumpers, Main feed transitions to equipment, GPS lines, intended for outdoor usage
Jacket Option
Black
Fire Performance
Halogene Free
Request quote

LCF12-50JFN

Applications
OEM jumpers, Main feed transitions to equipment, GPS lines, Riser-rated In-Building
Fire Performance
Flame Retardant, LS0H
Request quote

LCF12-50JFNL

Applications
Indoor
Wireless Communication
HF Defense
Microwave
Mobile Radio
Cable Solutions
Jacket Option
Black
Fire Performance
Flame Retardant, LS0H
Request quote

LCF12-50CPR _ _ _ Variant: C

Applications
OEM jumpers, Main feed transitions to equipment, GPS lines, Riser-rated In-Building, CPR classified cable B2ca
Fire Performance
Flame Retardant, LS0H, CE CPR B2ca s1a d0 a1
Request quote

LCF12-50J

Applications
OEM jumpers, Main feed transitions to equipment, GPS lines, intended for outdoor usage
Jacket Option
Black
Fire Performance
Halogen free, outdoor-rated
Request quote

MBH-BT6D

Hanger Type
Double Clamp Hanger
Cable Type
Power Cable
Hybrid Cable
Cable Size
18 mm
Request quote

MBH-BT10D

Hanger Type
Double Clamp Hanger
Cable Type
Power Cable
Hybrid Cable
Cable Size
5/8"
Request quote

LCF12-50JFN

Applications
OEM jumpers, Main feed transitions to equipment, GPS lines, Riser-rated In-Building
Fire Performance
Flame Retardant, LS0H
Request quote

LCF12-50JFNL

Applications
Indoor
Wireless Communication
HF Defense
Microwave
Mobile Radio
Cable Solutions
Jacket Option
Black
Fire Performance
Flame Retardant, LS0H
Request quote

GKSPEED20-12C

Type of Grounding Kit
High Speed
Package Quantity
1
Weight per piece
0.3kg
0.66lb
Request quote

GKSPEED20-12P

Type of Grounding Kit
High Speed
Package Quantity
1
Weight per piece
0.3kg
0.66lb
Request quote

GKSPEED20-12S

Type of Grounding Kit
High Speed
Package Quantity
1
Weight per piece
0.3kg
0.66lb
Request quote

LCF12-50J-ECO

Applications
OEM jumpers, Main feed transitions to equipment, GPS lines, intended for outdoor usage
Jacket Option
Black
Fire Performance
Halogen free, outdoor-rated
Request quote

LCF12-50J

Applications
OEM jumpers, Main feed transitions to equipment, GPS lines, intended for outdoor usage
Jacket Option
Black
Fire Performance
Halogen free, outdoor-rated
Request quote

LCF12-50JFN

Applications
OEM jumpers, Main feed transitions to equipment, GPS lines, Riser-rated In-Building
Fire Performance
Flame Retardant, LS0H
Request quote